为保障线上教学工作有序开展,进一步提升线上教学质量,七猫小说
按照学校线上教学工作会议的有关部署,组建了由学院领导、院教学督导组成员、系主任、辅导员、新进博士等为成员的线上教学督导组。自3月29日起,督导组成员对学院全体授课教师进行随机听课,现已顺利完成第二周的线上教学督导工作,有效地保障了学院线上教学工作开展。
截止4月8日晚,学院共收回线上教学督导员提交的《七猫小说
线上教学检查记录表》50余份,涵盖大学物理(上)、材料力学、工程力学 、计算力学、数学物理方法、半导体物理等公共基础课和专业课,涉及授课教师30余位。通过线上督导和学生反馈,七猫小说
授课教师在线上教学方面各显神通,采用各种手段提高线上教学质量,他们变身主播,使尽浑身解数,隔屏不隔爱,扎实做好线上教学工作,打好线上教学“抗疫阵地战”。
线上板书教学模式。为了发挥传统黑板的优势,胡必宸、吴建强、郑灵程等多名教师能够利用白纸和黑笔、红笔进行线上板书,与学生互动频繁,很受学生欢迎。

胡必宸老师利用学习通直播教学的截图

吴建强老师利用腾讯课堂直播教学的截图
线上教学不忘课程思政。4月5日清明节当日上午第1节课,基础力学系主任崔智丽老师带领同学们一起开展了网上祭英烈活动。同学们自觉起立默哀、缅怀先烈,通过课前的集体祭奠仪式,大学生们更加懂得珍惜当今来之不易的生活。

崔智丽老师带领学生进行网上祭英烈活动的截图
小黑板发挥大作用。赵丽霞老师巧妙的把家里孩子的小黑板搬进了“线上课堂”,于是,传统教具黑板,摇身一变,成了网课时代的“黑科技”,线上教学获众多学子点赞。

赵丽霞老师利用小黑板结合PPT授课现场
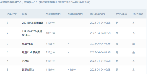
积极进行教学互动。任课教师利用“腾讯课堂”、“学习通”等教学平台中的签到、答题卡等小工具,在课堂中与学生积极互动,吸引学生注意力,提高教学效果,在课间休息时采用多媒体功能给学生放音乐以放松精神,缓解疫情封闭校园以来的紧张情绪。

职业卫生21-1班《工程力学Ⅱ》签到截图
线上教学资源建设。利用线上教学时机,很多老师在“学习通”等平台上传大量的参考资料和习题,课后在“学习通”及时布置作业并进行批改。截至发稿,七猫小说
教师在“学习通”平台上的课程资源建设量排行全校第一。

七猫小说
教师在学习通课程资源建设量排行全校第一
此外,在督导过程中,也发现一些不足,并提出教学建议,如:个别学生未能按时进群签到或持续在线听课;个别教师不清楚学校课堂教学错峰上下课时间的规定,搞错了下课时间。线上教学督导小组及时与授课教师进行交流,建议任课教师加强线上教学管理,强调学习纪律,通过增设“出勤签到”等平时成绩考核内容的方式对学生进行约束。
学院自开展线上教学督导工作以来,学院领导班子带领线上教学督导员认真观看了授课教师的在线课程,及时了解学院本科教学的运行状况,并通过发掘优秀教学案例,帮助青年教师进步,进一步提升全院教师的教书育人水平,起到了“以督促导、重在指导”的教学督导理念。
今后,线上教学督导小组将继续加强对线上教学各环节的质量监控,强化教学督导工作的督教、督学、督管职能,确保线上教学工作取得实实在在的育人效果,坚决打好线上教学“抗疫阵地战”。